Проблемы с отоплением

Тема в разделе "80/90/100/200/А6 С4", создана пользователем Сергей Андреевич, 22 ноя 2015.

  1. Vinni58

    Vinni58 Старожил

    18 сен 2009
    34.034
    Пензенская обл.
    узкоглазая
    По производителям - бехр, вахлер, вернет, гейтс.
    В комплекте должно быть уплотнителное кольцо, его сменить
    Докупить новый антифриз )))
     
    Stop hovering to collapse... Click to collapse... Hover to expand... Нажмите, чтобы раскрыть...
  2. Vinni58

    Vinni58 Старожил

    18 сен 2009
    34.034
    Пензенская обл.
    узкоглазая
    Сменить однозначно.
    При слабом ремне шкив помпы может проскальзывать, будет плохой оборот ож, в салоне будет прохладненько )))
     
    Stop hovering to collapse... Click to collapse... Hover to expand... Нажмите, чтобы раскрыть...
  3. Сергей Андреевич

    11 дек 2013
    56
    C4 ABK 2.0E 1994
    Вахлер 500 руб. Норм! :thumbup::)
     
  4. Сергей Андреевич

    11 дек 2013
    56
    C4 ABK 2.0E 1994
    Так может у меня из-за ремня всё дело? Новый лежит, давно уже менять хотел. Есть информация как его поменять, на сколько натягивать?

    Спасибо.
     
  5. Vinni58

    Vinni58 Старожил

    18 сен 2009
    34.034
    Пензенская обл.
    узкоглазая
    На 4-цилиндровым вот так http://automn.ru/audi-100/audi-3184-10.m_id-298.m_id2-299.html
     
    Stop hovering to collapse... Click to collapse... Hover to expand... Нажмите, чтобы раскрыть...
  6. Сергей Андреевич

    11 дек 2013
    56
    C4 ABK 2.0E 1994
  7. Engineer

    Engineer Старожил

    25 сен 2003
    13.295
    Сделана в Баварии
    Двигатель не перегреваться будет ли, о джедай? :D

    А потом начинает греться? Тогда 99% термостат, имхо.
    Про остальное пока не думай.
    Кстати, крышка бачка на В4 ставится от 2108, синяя, даже производитель тот же. У меня так, по к.м.
     
    Stop hovering to collapse... Click to collapse... Hover to expand... Нажмите, чтобы раскрыть...
  8. Vinni58

    Vinni58 Старожил

    18 сен 2009
    34.034
    Пензенская обл.
    узкоглазая
    Одно другому не мешает :D
     
    Stop hovering to collapse... Click to collapse... Hover to expand... Нажмите, чтобы раскрыть...
  9. Сергей Андреевич

    11 дек 2013
    56
    C4 ABK 2.0E 1994
    До 70 гр. холодный нижний патрубок, да. Начинает греться только после прокачки и держании 2000 оборотов. Я тоже видел подобную крышку в ВАЗовских магазах.
     
  10. Сергей Андреевич

    11 дек 2013
    56
    C4 ABK 2.0E 1994
    В прошлом году поменял печку и радиатор охлаждения, антифриз, всё было хорошо, печь жарила. А этой осенью поменял фланец (верхнего патрубка, куда датчики температурные входят), сначала думал завоздушил из-за него, но всё ведь работало. Чисто после первых морозов такая случилась беда.
     
  11. Сергей Андреевич

    11 дек 2013
    56
    C4 ABK 2.0E 1994
    Заказал термостат Wahler, отпишусь потом. :)
     
  12. Сергей Андреевич

    11 дек 2013
    56
    C4 ABK 2.0E 1994
    #32 Сергей Андреевич, 2 дек 2015
    Последнее редактирование: 2 дек 2015
    Итак! Пришёл термостат, стоимостью 420 руб. Wahler (на самом выбито Made in Germany, в комплекте резиновый уплотнитель, артикул: 426487D). На всякий случай прикупил и фланец за 70 руб. HANS PRIES (но на коробке написано Topran, артикул: 108188755).

    Проблема вот в чём. Думал я поменять легко. Но до болтов фланца не подобраться. Может кто-то наведёт на мысль, что там ещё снять. Ни разу не снимал ремни, мешают кронштейны. Как правильно снять? Есть ли фотоотчёт? Нужно снять насос ГУРа? А как потом его отрегулировать?

    Спасибо;)
     
  13. Vinni58

    Vinni58 Старожил

    18 сен 2009
    34.034
    Пензенская обл.
    узкоглазая
    Как в вашем конкретном случае не скажу. Но говорят иногда проще помпу в сборе снять и заменить на снятой термостат
     
    Stop hovering to collapse... Click to collapse... Hover to expand... Нажмите, чтобы раскрыть...
  14. Vinni58

    Vinni58 Старожил

    18 сен 2009
    34.034
    Пензенская обл.
    узкоглазая
    Stop hovering to collapse... Click to collapse... Hover to expand... Нажмите, чтобы раскрыть...
  15. Woffka

    Woffka Старожил

    9 апр 2011
    12.700
    Казахстан
    A80 B4 ABT 2.0 92г
    Не верю (с). Снизу там не мешает ничего. Снимаешь защиту - и ноу проблем.
     
    Stop hovering to collapse... Click to collapse... Hover to expand... Нажмите, чтобы раскрыть...
  16. Сергей Андреевич

    11 дек 2013
    56
    C4 ABK 2.0E 1994
    Сверху мешает кронштейн, а снизу насос ГУРа. Снизу не могу подлезть ключем, и небольшой головкой подлезть тоже не получается. :shock:
     
  17. Сергей Андреевич

    11 дек 2013
    56
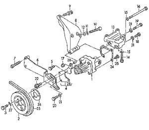
    C4 ABK 2.0E 1994
    Мешают мне эти детали:

    8 - Кронштейн крыльчатого насоса
    13 - Cкоба лопастного насоса

    Хотел снять кронштейн под номером 8, но чтобы его снять, гужно Гену снять :), т.е. под геной этот кронштейн (8) держится на шестиграннике (9).

    Кто-нибудь из ответивших мне менял на таком моторе термос? Реально у вас так просто получилось? :)
     

    Вложения:

  18. Сергей Андреевич

    11 дек 2013
    56
    C4 ABK 2.0E 1994
    Всем привет. Лопнул болт, когда закручивал фланец, и сам корпус насоса. Взял новый насос - SKF. Всё собрал, теперь машина прогревается до 90 гр. и на ходу держит температуру. Единственное, очень долго прогревается. Почему так?
     
  19. Woffka

    Woffka Старожил

    9 апр 2011
    12.700
    Казахстан
    A80 B4 ABT 2.0 92г
    Потому что помпа стала качать так, как надо. )))
    Вставь нанокартонку перед радиатором - все станет вообще хоккей. )))
     
    Stop hovering to collapse... Click to collapse... Hover to expand... Нажмите, чтобы раскрыть...
  20. Engineer

    Engineer Старожил

    25 сен 2003
    13.295
    Сделана в Баварии
    Потому что Сыктывкар (-17) :hi: а не Масква (+5) :D
     
    Stop hovering to collapse... Click to collapse... Hover to expand... Нажмите, чтобы раскрыть...